New Patent Shows Harley's Emergency Automated Braking System
The common automobile safety tech might soon make its way to H-D motorcycles.
By Brett Foote - May 3, 2021
NEXT
BACK
❮
❯
Future Tech
1 / 7
Crash Avoidance
2 / 7
Sensors and Cameras
3 / 7
Watch the Eyes
4 / 7
Warning Methods
5 / 7
Careful Application
6 / 7
Controversial Tech
7 / 7
Future Tech
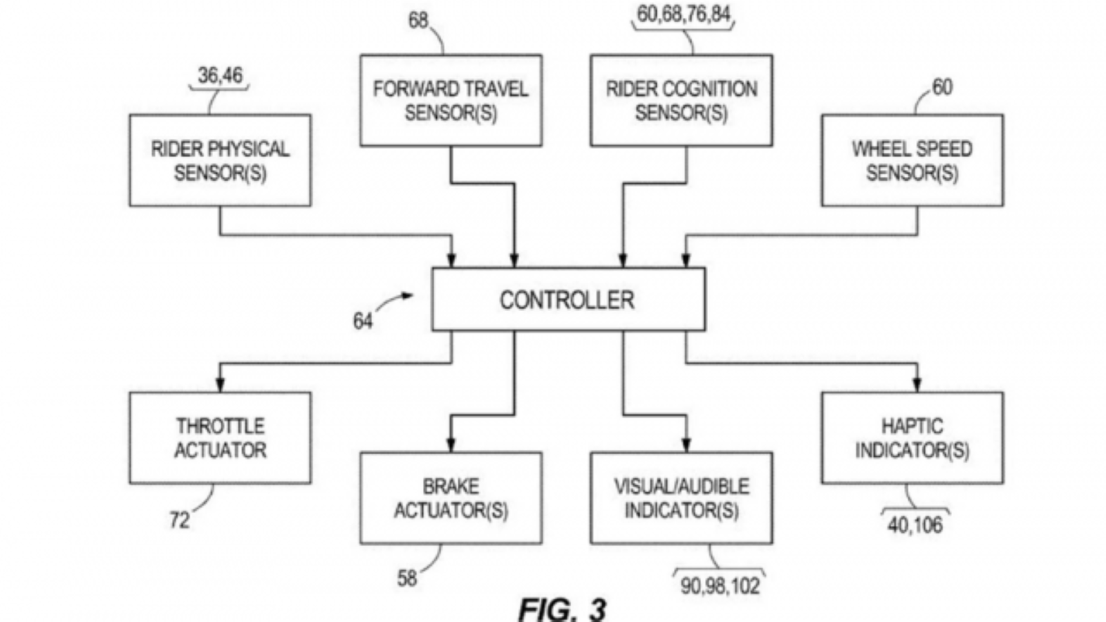
Emergency automated braking systems are nothing new in the automotive world, where such driver-assist safety features have existed for years now. But on a motorcycle? Well, that's a different story. Regardless, Harley-Davidson appears to be exploring the idea for its future models, as the legendary motorcycle maker has filed a patent for some sort of emergency braking system complete with a few illustrations showing how it might work.Photos: Harley-Davidson
Crash Avoidance
From what we can gather from the patent filing, Harley's emergency automated braking system would work much like adaptive cruise control in cars - which makes it more of a crash avoidance system that's only used in the event of an emergency.Photos: Harley-Davidson
>>Join the conversation about the new Emergency Automated Braking System in the Harley-Davidson Forum.
Sensors and Cameras
Like its automotive counterparts, Harley's system would use a variety of sensors to constantly monitor the motorcycle's surroundings and the rider. There's also a camera on the dash pointed toward the rider, as well as handlebar, grip, and seat sensors.Photos: Harley-Davidson
>>Join the conversation about the new Emergency Automated Braking System in the Harley-Davidson Forum.
Watch the Eyes
The patent also mentions a helmet-mounted camera that's aimed at the rider's eye, which would use vision-tracking technology to ensure the rider's eyes are both open and fixed in the right direction, a key component of preventing crashes, especially when autonomous features are being used in any vehicle.Photos: Harley-Davidson
>>Join the conversation about the new Emergency Automated Braking System in the Harley-Davidson Forum.
Warning Methods
Like its automotive counterparts, Harley's system would utilize a series of warning lights and both haptic and audible warnings to alert the driver to a potential problem before it takes action. If the rider doesn't react, the system would be able to apply the brakes to avoid a collision.Photos: Harley-Davidson
>>Join the conversation about the new Emergency Automated Braking System in the Harley-Davidson Forum.
Careful Application
Of course, unlike an automobile, activating the brakes in the event of an imminent crash is a bit trickier on a motorcycle, because the system must be careful not to do it in a way that would throw the rider off the bike, but that appears to have been considered in this particular design.Photos: Harley-Davidson
>>Join the conversation about the new Emergency Automated Braking System in the Harley-Davidson Forum.
Controversial Tech
Finally, the patent filing also reveals that the braking system is capable of determining how much braking power is needed depending on the situation, and it can even add more if it determines that the rider isn't braking hard enough. Overall, it's an interesting concept that could save lives, even though some old-school riders might scoff at such an intrusive piece of tech.Photos: Harley-Davidson
For help with your Harley maintenance and repair projects, please visit our how-to section in the forum.
NEXT
BACK

