Dyna Glide Models Super Glide, Super Glide Sport, Super Glide Custom, Dyna Glide Convertible, Super Glide T-Sport, Dyna Glide Police, Dyna Switchback, Low Rider, Street Bob, Fat Bob and Wide Glide.
Sponsored by:
Sponsored by:

97 Dyna starter clutch issue

Thread Tools
 
Search this Thread
 
Old Mar 29, 2026 | 11:03 PM
  #1  
Jack Schitt's Avatar
Jack Schitt
Thread Starter
|
Cruiser
Photogenic
Liked
Loved
Community Favorite
Joined: Aug 2022
Posts: 139
Likes: 166
From: Mississippi
Default 97 Dyna starter clutch issue

My convertible has 18K miles but many years.It’s bone stock but this week the starter spins but not engaging. It used to do it now and then but now nothing. Is it easy to replace the starter clutch? I do have tools and not afraid to pull the starter but is it worth doing?
Dealership will replace the starter for about $700.00. It’s not a money issue because I love to do my own maintenance that I am not afraid to do. I do have the service manual.
Question is how hard is it to do? Any secrets or special advice I need to know ?
Im retired so I have plenty time !
 

Last edited by Jack Schitt; Mar 29, 2026 at 11:04 PM.
Reply
Old Yesterday | 05:06 AM
  #2  
eighteight's Avatar
eighteight
Seasoned HDF Member
Joined: Oct 2019
Posts: 10,496
Likes: 7,093
From: OH
Default

IMO , removing the oil tank is the hard part
 
Reply
Old Yesterday | 06:32 AM
  #3  
Jackie Paper's Avatar
Jackie Paper
Seasoned HDF Member
15 Year Member
Community Influencer
Active Streak: 30 Days
Top Answer: 1
Joined: Mar 2010
Posts: 38,078
Likes: 6,237
From: Honah Lee
Default

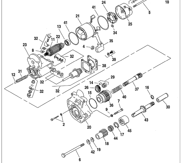
The starter clutch is actually a sprag clutch. Its clutch mechanism is several roll pins against a solid shoulder. It works and can only slip if you hold the starter engaged once the gas motor starts.

Then the gas motor spins the big ring gear and the small starter gear faster than the starter motor is turning, and that action runs these drive pins up a ramp, and it disengages them from the shoulder, and the little gear just spins.

Your issue may just be the solenoid plunger not pushing the gear into the big ring gear.

Do some simple stuff first. Check the solenoid's small wire. Check the battery connection and CCA of the battery. Turn the motor by pushing the bike with it in low gear to make sure the issue isn't ring gear damage at a certain spot. Last thing before tearing into it would be to check inside the solenoid cover...

That's not a lot of miles for starter issues.

See YouTube for replacement. Be sure the primary cover also doesn't need to be removed, like on the early years of the TC. Now you Dyna unlike a Softail and a Sportster has the oil tank under the transmission, so it's not an issue.

Google .. (note below for some educational suggestions from the AI girl who gathers this information from real people with real issues. One of our Community team members said his job is to do this for AI.

If I hear the starter on my 1997 Harley Dyna motorcycle turning, but the motor is not turning over, what has gone bad?

Note below may not be exactly your design...
.....











.....

 

Last edited by Jackie Paper; Yesterday at 09:34 AM.
Reply
Old Yesterday | 09:23 AM
  #4  
Tommy C's Avatar
Tommy C
Seasoned HDF Member
10 Year Member
Joined: Oct 2015
Posts: 13,325
Likes: 33,938
From: Pine Flat Dam/South Bay Area, CA
Default

Originally Posted by eighteight
IMO , removing the oil tank is the hard part
No need to remove the oil tank on a Dyna to remove and replace a starter, as the oil pan is under the transmission.
 
Reply
Old Yesterday | 09:33 AM
  #5  
eighteight's Avatar
eighteight
Seasoned HDF Member
Joined: Oct 2019
Posts: 10,496
Likes: 7,093
From: OH
Default

Originally Posted by Tommy C
No need to remove the oil tank on a Dyna to remove and replace a starter, as the oil pan is under the transmission.

Tommy C is correct
I was wrong and apologise
Not sure why I was thinking Softail
 
Reply
Old Yesterday | 09:34 AM
  #6  
Dan89FLSTC's Avatar
Dan89FLSTC
Seasoned HDF Member
Veteran: Navy
Active Streak: 30 Days
Top Answer: 3
Top Answer: 5
Joined: May 2008
Posts: 20,836
Likes: 12,330
From: South Carolina
Default

Originally Posted by Jackie Paper
Your issue may just be the solenoid plunger not pushing the gear into the big ring gear.
.....
No.

If the solenoid plunger does not push the pinion gear into the ring gear, the starter motor will not get power.

The plunger pushes the pinion gear into the ring gear, when it has pushed it all the way the electrical contact in the solenoid will be made, allowing power to go to the motor.

@Jack Schitt
Ignore the book posted by jackie paper...he just goes on and on...

It sounds like the starter clutch is bad, easy to replace.

You will have to remove the outer primary cover in order to remove the jack shaft bolt.

Note: If you don`t feel comfortable disassembling the starter, you can take it to any auto electric shop that repairs starters/alternators etc.

These starters are common automotive units; any decent starter repair shop will be familiar with them and probably have all the parts on hand.

If you want to do it yourself, All ***** has what you need: Starter Clutch


 

Last edited by Dan89FLSTC; Yesterday at 09:52 AM.
Reply
Old Yesterday | 11:05 AM
  #7  
Jackie Paper's Avatar
Jackie Paper
Seasoned HDF Member
15 Year Member
Community Influencer
Active Streak: 30 Days
Top Answer: 1
Joined: Mar 2010
Posts: 38,078
Likes: 6,237
From: Honah Lee
Default

Actually the starter can run without pushing the gear into the ring gear. It not directly connected since it's driven fwd by the small coil spring between it and the solenoid.

I addressed what I said since first poster ask. However the majority of it delt with GM car starters and the feed back from what people on here gave with the same issue that fixed the problem.

And it sure wasn't the sprag clutch.

However for sure replacing it doesn't hurt and helps the aftermarket economy.

If you replace it, be sure grease is not all caked up behind it. One I rebuild, I did it a second time with high speed ball bearing grease. I used a black moly grease first time. It dried up and caked it up again.

My original post suggests the basics. And sure it can be the sprag clutch jammed up . And if you do the basics first and then get into primarily, you will see it fully engaged and free wheeling.

This one appears to be something other then sprag clutch.

 

Last edited by Jackie Paper; Yesterday at 12:58 PM.
Reply
Old Yesterday | 11:19 AM
  #8  
GREENOHAWK69's Avatar
GREENOHAWK69
Grand HDF Member
15 Year Member
Liked
Loved
Community Favorite
Joined: Oct 2006
Posts: 3,642
Likes: 703
From: DFW
Default

I have a 97 Dyna and it's not difficult to remove the starter and replace the starter clutch. R&R the starter multiple times and I'm no mechanic.
 
Reply
Old Today | 06:20 AM
  #9  
98hotrodfatboy's Avatar
98hotrodfatboy
Seasoned HDF Member
15 Year Member
Liked
Loved
Top Answer: 5
Joined: Mar 2010
Posts: 20,850
Likes: 7,391
From: Poolville
Default

Originally Posted by GREENOHAWK69
I have a 97 Dyna and it's not difficult to remove the starter and replace the starter clutch. R&R the starter multiple times and "I'm no mechanic."
Yeah we know that....LOL.... Only kidding but someone had to say it...
 
Reply
Old Today | 01:24 PM
  #10  
GREENOHAWK69's Avatar
GREENOHAWK69
Grand HDF Member
15 Year Member
Liked
Loved
Community Favorite
Joined: Oct 2006
Posts: 3,642
Likes: 703
From: DFW
Default

^ Lol
 
Reply



All times are GMT -5. The time now is 11:34 PM.