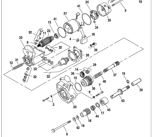
Starter spring
Paul
It gives the starter gear itself some give. When you hit the start button on the bars, that low amp micro switch gives power to the starter relay. That relay has enough ability to carry the small amount of power, the solenoid electric magnet takes.
That pulls the sprag clutch with the small starter gear fwd into the ring rear on the clutch hub. That small gear has three machined bevels to help it drop in. It also at first until the large 150 amp solenoid contact hits that the starter is actually running on newer designs. In older designs, I think the starter is running before gear gets to ring gear. All seem to have what I would call a damper spring.
That heavy spring cushions just in case small gear hits in a very limited area that doesn't turn it slightly to align. Once the gear is fully engaged, the huge contact washer hits to supply voltage to the starter.
The sprag is a one drive from rollers rolling up a ramp. If the starter was to stay on, and the gas motor is running, it is outrun by gas motor opposite direction and it acts like a 10-speed bicycle hub when you coast holding the pedals.
Note, 14 snatches it all back when you take your finger off the start button. Item 12 is a ball roller to keep the solenoid plunger from rotating.
The sprag clutch can't slip. PS Fred. Great first post. As a new member, welcome. Only as a suggestion, make your next new post over in the new member welcome area to say hello.
Last edited by Jackie Paper; Dec 30, 2023 at 12:36 PM.
You have an aftermarket pinion gear kit that eliminates the coupler. Here's a picture that shows where the spring location is.
https://www.mid-usa.com/67530-1-piec...s-for-big-twin










