EVO All Evo Model Discussion

Cam cover

Thread Tools
 
Search this Thread
 
Old Aug 8, 2017 | 05:31 AM
  #1  
Evoken's Avatar
Evoken
Thread Starter
|
Tourer
5 Year Member
Liked
Loved
Community Favorite
Joined: Apr 2017
Posts: 303
Likes: 87
From: New Galilee, Pa
Default Cam cover

Hi fellas,
As you may know I am in the process of giving my softail a new life and turning her into a monster. While I have it torn down I am freshening some things up. My original cam cover is chrome, but shows it's age. It's got some pits and chips in it. I bought a cover cover for it that is just sheet metal that is chromed, it looks horrible.

When I looked into replacing with something from s&s or Jim's they all say something about reaming for fitment of cam or something like that. So I am apprehensive to buy another part that will need machined. How is this done, how do you check to see if a new cover needs machined?

Anyone changed cam covers, and what is all involved?
 
Reply
Old Aug 8, 2017 | 06:03 AM
  #2  
98hotrodfatboy's Avatar
98hotrodfatboy
Seasoned HDF Member
15 Year Member
Liked
Loved
Top Answer: 5
Joined: Mar 2010
Posts: 21,091
Likes: 7,612
From: Poolville
Default

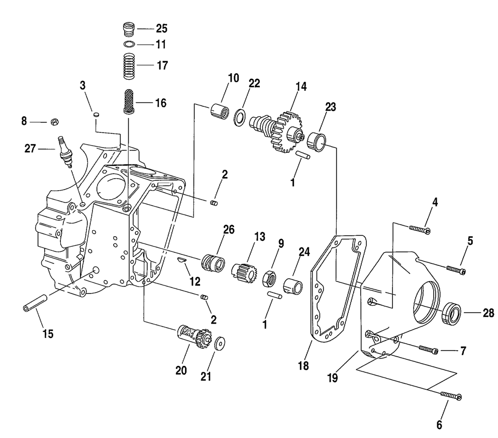
If your talking about the cam chest cover (Gear Cover #19) yes you have to ream the cam bushing for proper fitment http://images.imagessite.com/OEM_IMA...D98FXST006.gif

Now if your talking about the cam position cover no nothing needs to be done.... I took the center out of a hub cap from a chevy pickup and used it for my cam position sensor cover.... Let's out a lot more heat....
 
Reply
Old Aug 8, 2017 | 06:56 AM
  #3  
Evoken's Avatar
Evoken
Thread Starter
|
Tourer
5 Year Member
Liked
Loved
Community Favorite
Joined: Apr 2017
Posts: 303
Likes: 87
From: New Galilee, Pa
Default

Yep, # 19 the chest cover. I'm assuming just the brass bushing needs reamed. Would this be a machinist job? How do you verify what you need? Could I do this myself with a drill press and reamer bit?
 
Reply
Old Aug 8, 2017 | 07:35 AM
  #4  
98hotrodfatboy's Avatar
98hotrodfatboy
Seasoned HDF Member
15 Year Member
Liked
Loved
Top Answer: 5
Joined: Mar 2010
Posts: 21,091
Likes: 7,612
From: Poolville
Default

Yea, I wouldn't attempt that myself. You really should use a lathe or something to that manner to get the proper clearance you need. I don't think you'd be able to accurately Center the cam chest bushing on your drill press to properly ream it. leave that to the pros, a machinist yes. You're going to need to take your cam out so they can mic it up for you and ream properly. I'm pretty sure the goal is around .001".....
 

Last edited by 98hotrodfatboy; Aug 8, 2017 at 07:37 AM.
Reply
Old Aug 8, 2017 | 10:18 AM
  #5  
0maha's Avatar
0maha
Seasoned HDF Member
10 Year Member
Liked
Loved
Community Favorite
Joined: Nov 2012
Posts: 6,555
Likes: 4,797
From: Omaha
Default

If you want the "according to Hoyle" answer, the right way to fit a new cam cover is to split the cases, mount the new cam cover to the right side case, then line ream the pinion shaft bushing to the crank roller bearing race. There are special guides you fit into the roller bearing race to align the reamer. The cam cover has to be precision matched to your case.

I'm sure a lot of guys have just reamed the cam and pinion bushings to fit their cam and pinion shaft, and then trusted to luck on the pinion bushing alignment. Not exactly "best practice".

If it was my motor, I'd at least do this: Pull the whole top end, and pull the primary side far enough to where you remove the compensator. Then ream your new cover and test fit it. Push on the con rods up and down to rotate the motor, and feel for smooth, easy operation and make sure there are no tight spots. If you get lucky, everything will check out.

If not, if it doesn't turn freely or if it feels like it wants to bind in spots, you'll either have to go back to your old cover, or split the cases so you can get the cover fitted properly to your case. The other thing you could do if it's tight is try a smaller cam gear, which may or may not correct the problem.
 
Reply
Old Aug 8, 2017 | 11:11 AM
  #6  
Evoken's Avatar
Evoken
Thread Starter
|
Tourer
5 Year Member
Liked
Loved
Community Favorite
Joined: Apr 2017
Posts: 303
Likes: 87
From: New Galilee, Pa
Default

Yeah, I was afraid of that. I'm not going to split the covers just to install a new cover. I will just see what the cover/cover looks like after I get it all back together. The factory cover isn't that bad I guess, it's got a small chip about an 1/8" on the top that I notice every time I look at it. Most people probably don't even see the damned thing, I'm just being ****.

Thanks fellas.
 
Reply
Related Topics
Thread
Thread Starter
Forum
Replies
Last Post
TruckerXbones
Want To Buy Motorcycles/Parts/Accessories
0
Feb 24, 2018 08:53 PM
ihb75
General Topics/Tech Tips
0
Apr 24, 2012 08:19 AM
streetfighter06
Sportster Models
2
Dec 12, 2011 08:15 AM
docsking
Touring Models
15
Jun 23, 2010 05:10 AM
justin42
Want To Buy Motorcycles/Parts/Accessories
0
Oct 20, 2007 08:34 PM




All times are GMT -5. The time now is 08:26 PM.

story-0
7 Times Harley-Davidson Chucked Tradition Out the Window

Slideshow: Harley-Davidson built its reputation on nostalgia, but every so often, the company took a hard left turn into the future.

By Verdad Gallardo | 2026-05-20 11:18:19


VIEW MORE
story-1
7 Surprising Harley-Davidson Products that Are Not Motorcycles

Slideshow: The bar-and-shield logo shows up on far more than motorcycles, some of the company's most unexpected products have nothing to do with riding.

By Verdad Gallardo | 2026-04-29 16:50:35


VIEW MORE
story-2
8 Best Harley-Davidson Motorcycles Ever

Slideshow: Not every Harley gets it right, but these are the ones that genuinely earned their reputation.

By Pouria Savadkouei | 2026-04-15 14:23:21


VIEW MORE
story-3
10 Worst Harley-Davidson Motorcycles Ever

Slideshow: From the troubled AMF years to modern misfires, these bikes earned reputations for reliability issues, questionable engineering, or disappointing performance.

By Pouria Savadkouei | 2026-04-01 20:01:09


VIEW MORE
story-4
Killer Custom's Jail Break Is The Breakout That Refused to Blend In

Slideshow: Killer Custom's "Jail Breaker" build focuses more on stance and visual aggression than mechanical overhaul.

By Verdad Gallardo | 2026-03-18 19:20:32


VIEW MORE
story-5
Crazy Bunderbike Build Looks Amazing, But Is It Impossible to Ride?

Slideshow: The Swiss custom shop has taken a Harley Softail and stretched it into something so long and low that it looks closer to a rolling sculpture than a conventional motorcycle.

By Verdad Gallardo | 2026-03-07 16:15:30


VIEW MORE
story-6
Harley-Davidson Reveals Super Cool Cafe Racer Concept

Slideshow: Harley-Davidson's new RMCR concept revives the café racer formula with modern hardware-and it may be exactly the reset the company needs.

By Verdad Gallardo | 2026-03-04 12:23:37


VIEW MORE
story-7
Engraved Rebellion: Inside Bundnerbike's Glam Rock II

Slideshow: A standard cruiser becomes an intricate metal canvas in the hands of a Swiss custom house known for pushing Harley-Davidson platforms far beyond their factory brief.

By Verdad Gallardo | 2026-02-24 18:19:44


VIEW MORE
story-8
10 Motorcycles You Should Never Buy

Slideshow: There is no shortage of great motorcycles to buy, but we would avoid these ten.

By Joe Kucinski | 2026-02-19 14:50:51


VIEW MORE
story-9
10 Things Harley-Davidson Needs to Fix in 2026

Slideshow: Harley-Davidson's challenges aren't abstract; they show up in dropping shipments, shrinking dealer traffic, and strategic decisions that aren't yet translating into growth.

By Verdad Gallardo | 2026-01-13 18:33:17


VIEW MORE