Softail Models Standard, Custom, Night Train, Deuce, Springer, Heritage, Fatboy, Deluxe, Rocker and Cross Bones.
Sponsored by:
Sponsored by:

What is this called?

Thread Tools
 
Search this Thread
 
Old Jul 18, 2022 | 06:11 PM
  #1  
wombat457's Avatar
wombat457
Thread Starter
|
Road Master
Joined: Mar 2015
Posts: 975
Likes: 302
From: earth
Default What is this called?

I need to get a replace of what is "Arrowed" (front and back) in the picture below but don't know what it is or is called. Can someone shed some light on that please?



The chrome stuff that goes behind the headlight ........
 
Reply
Old Jul 18, 2022 | 06:40 PM
  #2  
Uncle Larry's Avatar
Uncle Larry
Seasoned HDF Member
Veteran: Army
15 Year Member
Joined: Jan 2011
Posts: 157,518
Likes: 57,070
From: Michigan 15 Minutes East Of Hell
Default

https://www.jpcycles.com/product/221...saAqWQEALw_wcB


Maybe
 
Reply
Old Jul 18, 2022 | 06:41 PM
  #3  
hattitude's Avatar
hattitude
Seasoned HDF Member
15 Year Member
Community Builder
Community Favorite
Top Answer: 10
Joined: Sep 2008
Posts: 14,156
Likes: 11,247
From: San Diego, CA
Default

Originally Posted by wombat457

I need to get a replace of what is "Arrowed" (front and back) in the picture below but don't know what it is or is called. Can someone shed some light on that please?



The chrome stuff that goes behind the headlight ........
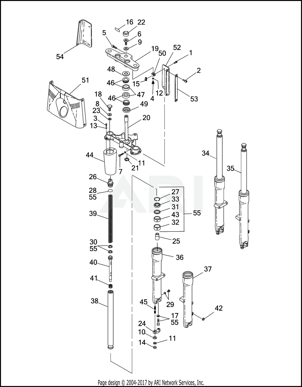
It's called the front panel, part #67808-86. If it is OEM, it's buffed stainless steel. I believe it is a discontinued part, so you'll have to go to eBay and find one in good shape. It was used on various FL softail models from '86 until at least my 2003 Heritage... I'm guessing probably until '06/'07ish...

There are a couple repop chrome ones on the market...

The OEM front panel is #51 in the pic below...

 

Last edited by hattitude; Jul 18, 2022 at 06:44 PM.
Reply
Old Jul 18, 2022 | 06:47 PM
  #4  
CoolBreeze3646's Avatar
CoolBreeze3646
Seasoned HDF Member
Joined: Aug 2006
Posts: 24,528
Likes: 30,847
From: Pennsylvania
Default

Ref: 51
P/N 67808-86
FRONT PANEL BUFFED STAINLESS STEEL



 
Reply
Old Jul 18, 2022 | 07:03 PM
  #5  
wombat457's Avatar
wombat457
Thread Starter
|
Road Master
Joined: Mar 2015
Posts: 975
Likes: 302
From: earth
Default

Thanks Gents - and yep, that is what I need as well as the two rear bits, actually it is the rear bits I need more - had to make some pretty ahh serious mods to them to get the windscreen mount stuff to fit
 
Reply
Old Jul 18, 2022 | 07:06 PM
  #6  
hattitude's Avatar
hattitude
Seasoned HDF Member
15 Year Member
Community Builder
Community Favorite
Top Answer: 10
Joined: Sep 2008
Posts: 14,156
Likes: 11,247
From: San Diego, CA
Default

Originally Posted by wombat457
Thanks Gents - and yep, that is what I need as well as the two rear bits, actually it is the rear bits I need more - had to make some pretty ahh serious mods to them to get the windscreen mount stuff to fit


https://www.ebay.com/itm/13412685423...Bk9SR6jDt7zCYA
 
Reply
Old Jul 19, 2022 | 08:06 AM
  #7  
sharpshooter's Avatar
sharpshooter
Road Warrior
Joined: Jun 2008
Posts: 1,406
Likes: 149
From: West TN
Default

https://www.jpcycles.com/product/230...headlight-tins

They also have a kit with the beer cans for about $150, which I just ordered.. These are chrome. (Not what ever finish it is HD puts on the bike)
 
Reply
Related Topics
Thread
Thread Starter
Forum
Replies
Last Post
lewk
Sportster Models
2
Dec 3, 2017 07:49 PM
Fta Boy
General Harley Davidson Chat
3
Mar 15, 2013 12:51 PM
128auto
Dyna Glide Models
3
Jun 21, 2012 12:47 PM
Beerninja
Softail Models
5
Jan 7, 2009 02:23 PM
turk716
Dyna Glide Models
3
Mar 18, 2008 02:16 AM




All times are GMT -5. The time now is 01:23 AM.

story-0
7 Times Harley-Davidson Chucked Tradition Out the Window

Slideshow: Harley-Davidson built its reputation on nostalgia, but every so often, the company took a hard left turn into the future.

By Verdad Gallardo | 2026-05-20 11:18:19


VIEW MORE
story-1
7 Surprising Harley-Davidson Products that Are Not Motorcycles

Slideshow: The bar-and-shield logo shows up on far more than motorcycles, some of the company's most unexpected products have nothing to do with riding.

By Verdad Gallardo | 2026-04-29 16:50:35


VIEW MORE
story-2
8 Best Harley-Davidson Motorcycles Ever

Slideshow: Not every Harley gets it right, but these are the ones that genuinely earned their reputation.

By Pouria Savadkouei | 2026-04-15 14:23:21


VIEW MORE
story-3
10 Worst Harley-Davidson Motorcycles Ever

Slideshow: From the troubled AMF years to modern misfires, these bikes earned reputations for reliability issues, questionable engineering, or disappointing performance.

By Pouria Savadkouei | 2026-04-01 20:01:09


VIEW MORE
story-4
Killer Custom's Jail Break Is The Breakout That Refused to Blend In

Slideshow: Killer Custom's "Jail Breaker" build focuses more on stance and visual aggression than mechanical overhaul.

By Verdad Gallardo | 2026-03-18 19:20:32


VIEW MORE
story-5
Crazy Bunderbike Build Looks Amazing, But Is It Impossible to Ride?

Slideshow: The Swiss custom shop has taken a Harley Softail and stretched it into something so long and low that it looks closer to a rolling sculpture than a conventional motorcycle.

By Verdad Gallardo | 2026-03-07 16:15:30


VIEW MORE
story-6
Harley-Davidson Reveals Super Cool Cafe Racer Concept

Slideshow: Harley-Davidson's new RMCR concept revives the café racer formula with modern hardware-and it may be exactly the reset the company needs.

By Verdad Gallardo | 2026-03-04 12:23:37


VIEW MORE
story-7
Engraved Rebellion: Inside Bundnerbike's Glam Rock II

Slideshow: A standard cruiser becomes an intricate metal canvas in the hands of a Swiss custom house known for pushing Harley-Davidson platforms far beyond their factory brief.

By Verdad Gallardo | 2026-02-24 18:19:44


VIEW MORE
story-8
10 Motorcycles You Should Never Buy

Slideshow: There is no shortage of great motorcycles to buy, but we would avoid these ten.

By Joe Kucinski | 2026-02-19 14:50:51


VIEW MORE
story-9
10 Things Harley-Davidson Needs to Fix in 2026

Slideshow: Harley-Davidson's challenges aren't abstract; they show up in dropping shipments, shrinking dealer traffic, and strategic decisions that aren't yet translating into growth.

By Verdad Gallardo | 2026-01-13 18:33:17


VIEW MORE